前言
前几天使用 hugo 构建了博客,并部署到了 github pages 上,然后通过托管在 cloudflare 上的域名进行访问
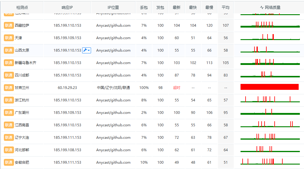
在魔法加持的情况下,表现没有任何异常,但是关闭魔法后,访问域名就出现间歇性抽风,通过 itdog 测试 ping 延时的部分情况如下
国内大部分地区访问均出现严重丢包的情况,一些地区的 dns 解析直接被污染了(如下面的甘肃兰州)

对于移动线路的访问,情况就更加严重了,请求全部都是失败的,看起来 github pages 在移动线路是被完全 block 掉了

迁移cloudflare
基于国内环境对 github 访问的严重破坏,考虑迁移到 cloudflare 的 pages 上来(当然 cloudflare 的默认访问也是被严重破坏的,迁移后再进一步优化)
登录 cloudflare 后,点击左侧的 Workers and Pages 菜单,然后点击导入现有的 Git 存储库,然后会提示需要 github 授权

在 github 授权 后,选择需要部署的存储库,点击开始设置

在构建设置中的框架预设中选择 Hugo,其他配置保留默认就可以,然后点击保存与部署

接着 cloudflare 就开始进行构建部署了,稍等片刻即可完成站点部署到全球网络

在 cloudflare 部署完成之后,在自定义域中进行域名的绑定,绑定时 cloudflare 会自动将旧的域名指向删除
同时还需要手动到 github 的 pages 中将之前建立的站点进行 unpublish 掉,待 cloudflare 域名重新生效后,即可以访问站点了

在迁移到 cloudflare pages 后,如果不做优化,访问体验也是极其糟糕的,下面是 ping 测试的部分情况,可见丢包也是非常严重
未经过优选的 cloudflare 分配的不一定是最优的线路,也可能分配的一些 ip 地址是已经被 gfw 或者运营商给 block 掉了的

优化原理
优选的主要原理就是就是利用大厂完善的优化线路,以下是针对后面说的阿里云配置的情况进行完整描述
1、用户浏览器发起访问 blog.qc7.org 请求,用户向本地递归 DNS 请求 www 子域名的解析
2、xqc7.com 所有权归属 cloudflare,是域名的权威 DNS,并且已委托了 www,因此 cloudflare 告诉递归 DNS,www 子域名解析权已委托给阿里云,请找阿里云解析
3、经阿里云 DNS 查询返回 www.csgo.com(或 www.visa.com),用户实际上是向该 CNAME 域名发起了请求
4、www.csgo.com 是 cloudflare 的商业用户,拥有比免费用户更好的线路,请求实际上是被发送到了经过优选后线路较好的 cloudflare ip 上
5、cloudflare 的 ip 收到访问请求, 会检查域名 blog.qc7.org 在 cloudflare 中是否有匹配的记录,如果有就将请求回源到设置的服务器上
6、blog.qc7.org 在 cloudflare 中配置了 pages 站点,最终 cloudflare 返回来 pages 的站点内容
优选配置
Pages已启用
首先需要保证在前面的操作中,域名是能够正常解析的,自定义域中是处于活动状态,由于阻断原因,在国内浏览器不一定能正常访问

子域名托管
将 www 子域名托管到阿里云,或者国内其他域名商托管也可以
在阿里云的域名管理中添加站点的域名,添加的时候会提示先进行TXT授权校验,点击 TXT授权校验 查看记录信息,在 cloudflare 对该域名添加一条 TXT 记录值
在 cloudflare 中添加 TXT 记录值后,回到阿里云进行校验,校验通过后提示域名 DNS 信息未查询到,这时候还需要添加两条 NS 记录值到 cloudflare 中



添加完毕后,在 cloudflare 中就会有以下的记录,一条在自定义域时添加的 CNAME 记录,一条 TXT 记录,两条 NS 记录

这时候,在阿里云中查看的记录是处于正常状态

添加解析
上面已经在阿里云添加了 www 域名的托管,现在还差最后一步,为 www 添加优选解析,可以添加 A 记录的优选 ip,也可以添加 CNAME 记录的优选域名
优选域名以及优选 ip 可以在网上搜索,比如我这里设置的 www.csgo.com 和 www.visa.com,记录类型选 CNNAME,主机记录填 @

添加记录后,阿里云上面记录状态显示为启用

解析测试
添加优选域名解析要一段时间才能生效,待解析生效后,本地 ping 显示已经有 csgo 以及 visa 的解析,延时在 200ms 以内

在 itdog 上的 ping 测试显示一片淡绿色,相比未优选前已经大为改善,浏览器直接请求站点域名也能正常响应了

回退源配置
除了上面 阿里云 + cloudflare 的方式进行加速外,也可以在 cloudflare 中通过双域名,使用回退源的方式进行加速
tunnel建立
这里设置将 tools.xqc7.com 进行访问优化,这是一个使用 tunnel 穿透访问的站点,使用另外一个 tools.qc7.top 作为回退源
首先在 cloudflare 中添加两个 tunnel,建立 tunnel 的时候,tools.qc7.top 可以和 tools.xqc7.com 指向一致
在 tools.xqc7.com 的 tunnel 搭建完毕后,应该能否是可以正常访问的

配置优选域名
对 qc7.top 添加一条值为 js 的 CNAME 记录,优选域名指向 www.visa.cn,这里要把小黄云代理关闭掉,其中 tools 域名是前面建立的 tunnel 域名

添加回退源
在 qc7.top 域名的 自定义主机 页面中新增一个 tools.qc7.top 作为回退源,添加回退源前需要先绑定支付方式并启用 cloudflar for SaaS
启用 cloudflar for SaaS 是免费的,只要是不超出免费额度(100个自定义主机)都是不需要付钱的



添加回退源并在回退源生效后,再添加一条自定义主机 tools.xqc7.com,并将下面的信息添加到域名解析 TXT 记录
另外还需要增加一条 CNAME 记录进行 DCV 委派,以便进行自动证书颁发和续订

最终,域名解析中新增的三条 DNS 记录如下,其中第一条 CNAME 是证书颁发和续订的,第二条是自定义主机的
第三条是前面建立 tunnel 的记录,这里把它的值改为指向加速的 js.qc7.top

后记
优选域名以及回退源配置,之前没接触过,也是最近几天才接触到,我这里的方式也是按照网络上别人的方式进行配置,似乎能正常工作
整个逻辑我也并没有完全理解,文中有些描述可能是错误的,后续如果有新的理解再行更新